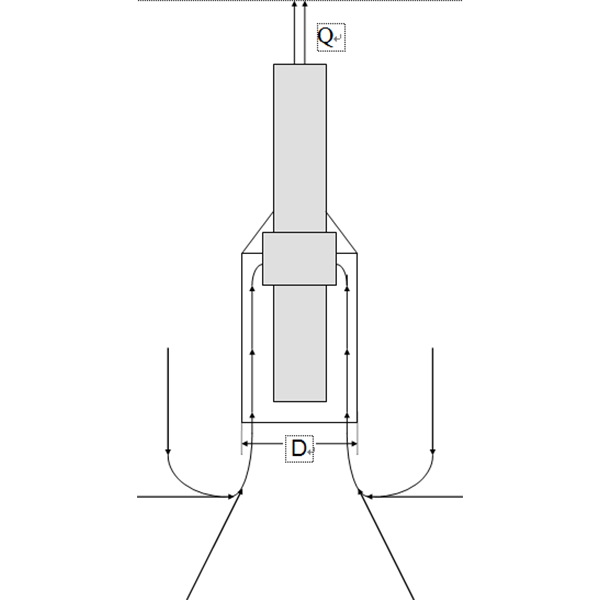
潜水电机在实际的运行过程中是需要加装导流罩的,这样才能保障潜水电机在运行的过程中不会因为电机过热而导致烧毁,那么,潜水电机需要加装导流罩的几种情形,来听听尤孚泵业集团小编整理编辑的文章内容吧。
一、 太宽的井径
水井井径太宽,流经电机表面的液体,达不到电机规定的最小流速,需要加装导流罩。
二、上供水
水井如果是上供水,电机得不到冷却,需要加装导流罩。
三、开放式水域
如果水泵安装在水箱或开放式水域中,需要加装导流罩。
以上是潜水电机需要加装导流罩的几种情形,想要了解更多,可在线咨询,我们会及时给你回复。
尤孚提供潜水泵、地面泵、深井泵、污水泵、泵系统产品和售后服务,为客户提供量身定做的解决方案。产品广泛应用于电厂、钢厂、矿山、油气、市政和自来水厂、温泉、喷泉、工业应用、建设和农业市场。
面向未来,尤孚将不断开发更加节能、环保和性价比更高的水泵和泵系统产品,致力于成长为更加专业化、全面化的国际流体设备供应商。




